苹果新专利曝光AirPower安全特性
2018-12-10手机厂商 编辑:安安
尽管苹果仍未敲定AirPower无线充电枕的发售日期,但美国商标和专利局(USPTO)公示的最新技术专利向我们介绍了有关配件安全方面的细节。根据专利中详细描述了AirPower在给苹果设备充电过程中,如何确保数据传输的安全性的。

根据专利描述的其中一个附图,显示了AirPower能够识别当前充电设备中那个屏幕最大,并在该屏幕上显示充电状态。在大多数情况下,这可以确保放在AirPower上的iPhone始终显示其他配件(包括Apple Watch和AirPower)的充电状态。

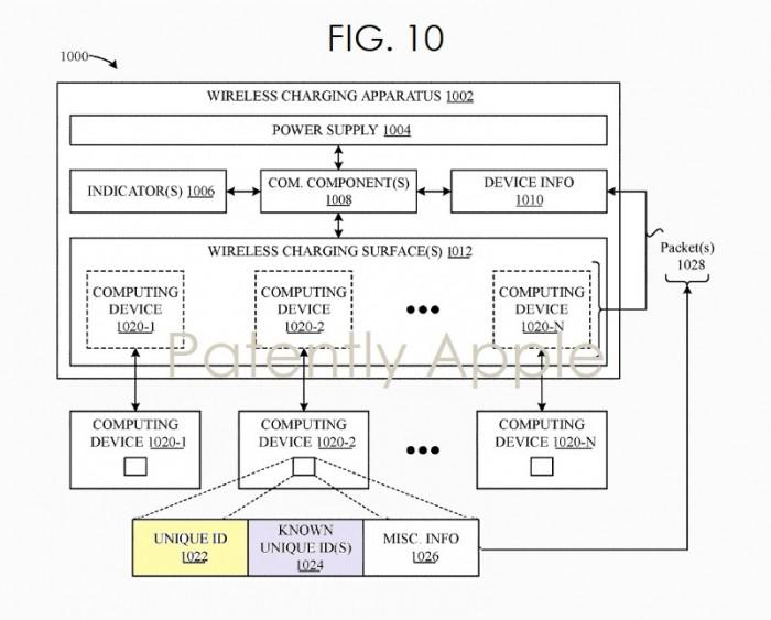
在专利的其他概述中,苹果还解释称AirPower可以“部署”一系列充电标准,包括Qi充电,Power Matters Alliance技术等等。其中最值得注意的是,在这项专利描述了一项安全特征,用于确保AirPower充电设备的数据安全。
苹果AirPower会向充电设备传输少量数据,用于显示例如充电动画在内的充电信息。从本质上讲,AirPower可以为每个设备(如iPhone或Apple Watch)分配一个唯一的ID,以便在传输此类信息时使用。这意味着恶意窥探只会导致收集“无害数据”。


